Ürün Hakkında
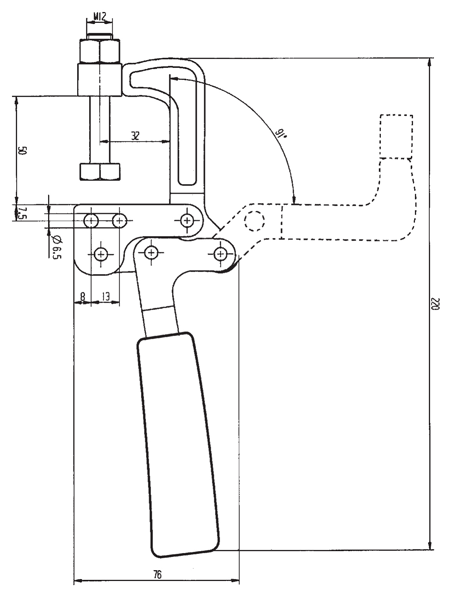
M70 İşeknce Tipi Bağlama Elemanı
|
Çelik gövde, kırmızı renkte ve yağa mukavim plastik tutma saplı, sertleştrilmiş ve yağlanmış yataklama burçlu. Baskı civatası ve koruyucu lastik başlık ile birlikte komple. çizmak Squeezing type toogle clamps Steel body. Galvanized and passivated. Ergonomic handle of red high quality oil resistant plastic. Supplied complete with tempered, galvanized clamping screw. |
![]() |









